Uchwyt przegubowy do podnoszenia pionowego IPU10J - CROSBY - większy otwór szczęk
Zacisk pionowy IPU10/J z oczkiem przegubowym, przeznaczony do blach o większej grubości, do typowych blach konstrukcyjnych o twardości do 37HRC. Szczęka ruchoma jest oznaczona kolorem niebieskim.
Korpus obejmy wykonany jest ze spawanej stali stopowej o dużej wytrzymałości, co pozwala zachować wysoką wytrzymałość i mniejsze wymiary. Części rękojeści są kute ze stopu o wysokiej wytrzymałości.
Każdy zacisk jest indywidualnie testowany do 2-krotności dopuszczalnego obciążenia roboczego, z certyfikatem, oznaczonym unikalnym numerem seryjnym i datą próby obciążeniowej na korpusie zacisku.
Nazwa firmy (CrosbyIP), logo, dopuszczalne obciążenie robocze i rozwarcie szczęk są trwale wybite na korpusie zacisku.
Zacisk pionowy IPU10/J z oczkiem przegubowym uniwersalnym - do blach o większej grubości, spełnia wymagania norm EN 13155 i ASME B30.20.
Wyprodukowano zgodnie z normą ISO 9001.
Wszystkie zaciski CROSBY są WYPOSAŻONE w RFID - wyposażone w chip identyfikacyjny RFID.




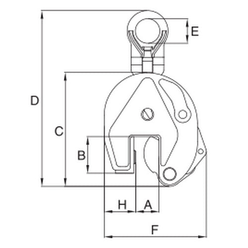
| Model | Maks obciążenie | Szczęka A | B | C | D | E | F | G | H | J | K | Waga |
| --- | t | mm | mm | mm | mm | mm | mm | mm | mm | mm | mm | kg |
| IPU10J | 3,0 | 1,57 - 3,15 | 4,53 | 10,63 | 17,01 | 2,95 | 10,91 | 3,07 | 2,64 | - | 0,79 | 38,1 |
| IPU10J | 6,0 | 2,00 - 4,00 | 4,96 | 11,89 | 20,28 | 3,15 | 13,23 | 3,31 | 3,74 | 1,73 | 0,79 | 58,4 |
| IPU10J | 9,0 | 2,00 - 4,00 | 4,96 | 12,80 | 21,65 | 3,15 | 14,17 | 3,70 | 4,13 | 1,73 | 0,79 | 67,2 |
| IPU10J | 12,0 | 2,13 - 4,25 | 7,01 | 17,24 | 26,06 | 3,15 | 19,33 | 4,76 | 5,35 | 1,61 | 0,98 | 143,0 |
| IPU10J | 16,0 | 2,50 - 5,00 | 8,19 | 20,51 | 30,87 | 3,46 | 22,13 | 4,76 | 6,30 | 1,77 | 0,98 | 187,0 |
| IPU10J | 22,5 | 3,13 - 6,13 | 10,04 | 24,72 | 36,93 | 4,33 | 25,98 | 5,47 | 7,72 | 1,93 | 0,98 | 328,0 |
| IPU10J | 30,0 | 3,13 - 6,13 | 10,04 | 24,72 | 37,09 | 4,33 | 25,98 | 6,02 | 7,72 | 2,13 | 1,18 | 364,0 |





